轴封加热器/汽封冷却器
一、产品用途及特点
轴封抽气加热器为汽轮机轴封系统中的重要设备、用以抽吸从汽轮机轴封溢出的蒸汽、以避免排入汽机房或进入油系统、同时回收蒸汽余热、保证汽轮机组的安全经济运行。
火力发电厂及工矿企业自备电站的凝汽式、抽汽式及背压式汽轮机均有轴封装置以避免蒸汽外溢。在结构上.轴封紧靠轴承.在轴承腔室的负压作用下.轴封外逸的的蒸汽极易进入轴承座.这是汽轮机油中进水的主要途径。在汽轮机热力系统设计中.轴封系统有开席式及封闭式两种类型。开启式轴封系统用于旧式汽轮机及当前的许多中、小型汽轮机在这种设计方式中、轴封外腔室压力高于一个大气压.漏汽直接外溢入大气.蒸汽易被吸入轴承座.且运行操作不便、后一类为封闭式轴封系统.即除用对轴封汽进行抽吸并进行冷却的装置、在我国多用于大、中型汽轮机组。具体说来就是采用抽气装置.抽吸轴封外挡的溢汽、使之进入加热器用以加热凝结水.与山此同时.轴封汽即冷却成凝结水.为凝汽器所回收由於轴封外挡为负压.蒸汽不再外溢。但是、当前各汽轮机厂家、所生产的抽气加热装置均系根据各厂家的传统设计而生产,种类繁多、大多数将抽气与加热两部份分开,而抽气装装置又分为轴封风机式、低压射水抽气器式、射水抽气器下置余抽式及射汽抽吸式等多种,另加单独的轴封加热器.上述型式的装置系统结构复杂、操作繁琐,对中、小型轮机组殊不适宜。
本产品“轴封抽气加热器”系将轴封抽气与加热凝结水两种过程相结合而成的装置.为美国西屋等汽轮机制造厂家的传统型式.具有结构独特、系统简单、运行状况稳定的优点.又因其轴封抽气装置具有可调节性、保证了运行的可靠性、避免了油中进水 。
二、型号含义
三、结构
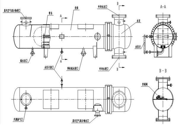
轴封加热器用于汽轮机轴封系统,其主要作用是用凝结水来冷却各段轴封和高、中压主汽调节阀阀杆抽出的汽-气混合物,在轴封加热器汽侧腔室内形成并维持一定的真空,防止蒸汽从轴封端泄漏。使混合物中的蒸汽凝结成水,从而回收介质。将汽-气混合物的热量传给凝结水,提高了汽轮机热力系统的经济性。同时,将混合物的温度降低到轴封风机长期运行所允许的温度.

轴封加热器在正常运行中,99%的凝结水进入轴封加热器的水室后,一部分作为冷却水经U形管折流返回到水室出水口,其余的凝结水经过内旁通阀由进水室直接流入出水室,两部分水汇合后流出加热器。蒸汽空气混合物进入轴封加加热汽侧壳体后,在换热管(U形管)外迁回流动,通过换热管与冷却水进行热交换,使凝结水温度升高,而汽气混合物中绝大部分蒸汽凝结成水,通过疏水出口管,经水封管入凝汽器,不凝结的气体和少量蒸汽则由轴封风机抽出并排入大气。
四、产品技术规范
五、轴封抽气加热器安装
1、热力系统布置
轴封抽气加热器在热力系统中的布置如图2所示。汽轮机前后轴封逸汽接口用管道接出,并使其与轴封抽气加热器前加热的接口相连接,轴封抽气加热器所排出的不凝结气体,直接由排气管排入大气,前、后加热器的疏水与经一根V形管排入低位疏水箱,自凝式器来的凝结水管与进水管共相接,出水管通往低压加热器,为了调节方便,该水管另接有不经轴封抽气加热器的旁路管。
2、安装注意事项
①该装置呈卧式布置。
②为了便于疏水,该装置采用了高于零米层的布置方式,一般可安装于加热器运行层上,也即位于运行层零米层之间的平台之上。
③安装时应注意冷却水进出口位置,不得接反,冷却水进口位置与轴封汽进汽口位于同一侧,冷却水出水位置与喷射器位于同一侧。
④应注意V形管的高度,其设计原则是:V形管所具有的水柱高度应大于所连接的容器内负压所相应的水柱高度。
⑤空气排出口用管道直排大气,管道的排出口可布置于柏秆边、管口向外,以不影响人员通行为原则。
⑥在轴封进汽接口短管上安装真空表及0~100℃温度表各一只,在冷却水进出口短管上各接0~100℃温度表一只。
⑦水压试验:本产品在出厂前已进行过水压试验,但在安装投运前仍应按《电力建设施工及验收技术规范》(汽轮机机组篇)的原则,重复进行试验,汽室部份水压0.2MPa、水室部份水压1.3MPa,五分钟不漏为合格。
